ALIMENTACION
La inyección de nafta/gasolina Indirecta
Nuvolari Enzo
Perspectiva de un motor de 4 cilindros opuestos, inyección indirecta Bosch Motronic y detalle de los sistemas de admisión –posicionamiento del electroinyector– y escape, con tecnología multiválvulas.
Para completar el sistema de inyección de nafta, los ítems a exponer son como se detalla a continuación:
• Los electroinyectores.
• Formación de la mezcla.
• El amortiguador de oscilaciones.
• La medición del aire de admisión. El sistema está compuesto por una bomba celular accionada eléctrica- mente que es la encargada de alimentar de nafta todo el circuito. A continuación de la bomba, se encuentra ubicado un filtro –con elemento de papel– que es el responsable de eliminar toda impureza proveniente del depósito.
La nafta una vez filtrada llega a un tubo de distribución –que vendría a ser el tan nombrado “common rail” que significa conducto único– que reparte uniformemente el combustible a todos los electroinyectores.
En un extremo del tubo distribuidor, está montado el regulador de presión que mantiene constante la presión diferencial entre la nafta y el colector de admisión.
Los electroinyectores
Los mismos accionados electrónicamente inyectan nafta, dosificándola con precisión en cada uno de los conductos de admisión, sobre la válvula de aspiración de cada cilindro. Es decir que a cada cilindro del motor le corresponde un electroinyector.
La acción electromagnética hace que los inyectores se abran y cierren, por medio de los impulsos eléctricos provenientes de la unidad de control electrónico ECU.
Los mismos están conectados en paralelo e inyectan por lo tanto en forma simultánea, una vez por cada vuelta del cigüeñal, es decir dos veces por cada ciclo de trabajo. Con la válvula de admisión cerrada, la nafta se acumula y luego es aspirada junto con el aire hacia la cámara de combustión, en la siguiente apertura de dicha válvula.
El microordenador de la ECU calcula el tiempo de inyección en función del estado de carga del motor.
El electroinyector está compuesto por el cuerpo, la aguja de inyección, y un inducido magnético o bobina superpuesta. El cuerpo contiene al devanado magnético y a la guía de la aguja del inyector.
Cuando el bobinado magnético no recibe corriente, la aguja es presio- nada sobre su asiento –a la salida del inyector– por el resorte helicoi- dal. Si el electroimán es excitado, la aguja se eleva de su asiento aproxi- madamente 0,1 mm. dejando salir la nafta a través de una ranura anu- lar perfectamente calibrada.
En el extremo delantero de la aguja existe una espiga puntiaguda de inyección, para asegurar una fina dispersión. Los tiempos de excitación y cierre de la aguja, son del orden de 1 a 1,5 milisegundos.
El montaje o posicionamiento de los electroinyectores se efectúa por medio de soportes construidos en caucho o goma especial, de manera de lograr un aislamiento térmico adecuado y evitar la formación interior de burbujas de vapor.
De esta forma se mejora el comportamiento en el arranque, con el motor en caliente. Por otra parte este tipo de soportes elásticos, protegen a los inyectores de las vibraciones.
Depende el tipo de motor, los electroinyectores van unidos al conducto de distribución de nafta por medio de tubos –canalizaciones– o mediante acoples con clips de seguridad.
La formación de la mezcla
Como es sabido la mezcla aire/nafta se forma en el colector de admisión y en el interior del cilindro.
El electroinyector pulveriza el combustible sobre la válvula de admisión prácticamente, en el tiempo calculado por el microordenador.
Al abrirse la válvula de admisión, el volumen de aire aspirado arrastra el chorro de nafta pulverizada y debido al efecto de torbellino que se origina durante los tiempos de admisión y compresión, se crea una mezcla homogénea con buenas propiedades de combustión.
Representación gráfica comparativa, entre la inyección simultánea y la inyección secuencial (Motronic) la cual posibilita la reducción de las emisio- nes contaminantes.
Medidor del caudal de aire, detalle del potenciómetro: 1. Sección de contacto. 2. Cursor. 3. Disco dentado (precarga resorte). 4. Resorte de retorno. 5. Resistor.
El amortiguador de oscilaciones
Este dispositivo evita los ruidos pulsatorios, y va posicionado en la tubería de retorno entre el regulador de presión y el depósito de nafta. Su concepción es idéntica a la del regulador de presión, pero sin tubería de unión al colector de admisión.
Este dispositivo reduce las pulsaciones u oscilaciones de presión en la tubería de retorno de nafta al depósito evitando así la propagación de ruidos pulsatorios.
Las pulsaciones se originan debido a las variaciones de presión de la nafta –apertura y cierre de los electroinyectores– o al actuar el regulador de presión.
La medición del aire de admisión
El caudal de aire aspirado por el motor, es una medida exacta del estado de carga o de servicio del mismo.
En sus comienzos el sistema Motronic utilizó el dispositivo aleta/sonda, también en su evolución –en algunas de sus variantes– recurrió al hilo o conductor eléctrico caliente, método éste perfectamente desarrollado y aplicado en otros sistemas Bosch.
En los sistemas de última generación, es utilizado el medidor de caudal de aire de admisión de tipo “película caliente”.
En cuanto al medidor de caudal aleta/sonda, el mismo mide el total del aire aspirado por el motor.
Este caudal sumado al régimen del motor, es la magnitud principal de control que determina la señal correspondiente al caudal de nafta inyectada.
Es decir que el volumen o caudal básico de combustible pulverizado por los electroinyectores, es función del volumen de aire aspirado y de la velocidad del motor.
Es a partir del caudal de aire de admisión medido, y del régimen registrado, que el microordenador de la ECU calcula –además del ángulo óptimo de avance al encendido– el tiempo de inyección que corresponde. Dicho tiempo –al igual que el ángulo de avance al encendido– se adapta a los diferentes estados (de carga) de funcionamiento del motor. En la determinación del caudal de aire, se consideran las distintas modificaciones que pueden aparecer en el motor a lo largo de su vida útil, como ser:
• Desgastes (generalizados).
• Depósitos carbonosos en la cámara de combustión.
• Variaciones en el reglaje de las válvulas (distribución).
Lógicamente el caudal de aire aspirado, pasa primero por el medidor
correspondiente –caudalímetro– antes de ingresar al motor.
Es entonces que la señal enviada por el medidor al acelerar se anticipa a la llegada de aire a los cilindros posibilitando –en caso de variación del estado de carga– mejorar la relación de mezcla aire/nafta.
El caudal de aire
Si nos referimos al primer dispositivo de medición del aire aspirado del sistema Motronic aleta/sonda, el mismo mide el caudal de aire con exactitud y suministra a la ECU la señal “volumen de aire por unidad de tiempo”. El principio de medición se basa en la determinación de la fuerza que ejerce el flujo de aire aspirado sobre la aleta/sonda.
El resorte que posee el dispositivo, ejerce una presión contraria a la de la aleta/sonda.
A un determinado flujo de aire –de admisión– corresponde una determinada posición angular del mecanismo.
A medida que aumenta el ángulo de la aleta, va aumentando la sección libre. La aleta/sonda de medición está unida a una aleta de compensación fija, de manera tal que las oscilaciones provocadas por los ciclos o carreras de admisión –en los diferentes cilindros– no influyan sobre la posición de la aleta/sonda. Las oscilaciones de presión, actúan por igual tanto en la aleta/sonda como en la aleta de compensación, por lo tanto los pares de fuerza se anulan y no pueden influir en la medición. La aleta/sonda acciona al cursor del potenciómetro, el cual transmite a la ECU una señal de tensión proporcional al ángulo de la aleta.
Esquema del medidor de caudal de aire aleta-sonda (caudalímetro). 1. Tornillo reglaje ralentí (mezcla). 2. Canal bypass. 3. Aleta-sonda. 4. Aleta de compensación. 5.Volumen de amortiguación
Motor naftero BMW de 6 cilindros en línea y 2.8 litros con una potencia de 193 CV. La alimentación es por inyección indirecta de nafta MPI secuencial e integrada. Gestión electrónica Bosch Motronic.
El potenciómetro tiene una pista de contacto dividida en segmentos, de alto valor ohmico. La pista de contacto y las resistencias están dispuestas de forma tal que la tensión de la señal aumenta con el ángulo de posición de la aleta/sonda.
El potenciómetro del cursor está diseñado de modo tal, que se establece una relación lineal entre el caudal de aire aspirado y la tensión del cursor.
EL SISTEMA DE CONTROL MOTRONIC
El mismo posee una sola unidad de control electrónico ECU, que es la que comanda todas las funciones del motor naftero. Las sondas o sensores, ubicados estratégicamente en el motor, captan o registran los datos de servicio para que se realice el correcto funcionamiento del mismo. Los sensores cumplen –entre otras– con las funciones siguientes de entradas de conexión:
• Conexión/desconexión del encendido.
• Posicionamiento del árbol de levas.
• Velocidad de funcionamiento.
• Accionamiento de la caja automática de velocidades.
• Funcionamiento del aire acondicionado.
Los sensores establecen además – entre otras– las siguientes entradas analógicas:
• Tensión de la batería.
• Temperatura del motor.
• Caudal del aire de admisión.
• Temperatura del aire de admisión.
• Posicionamiento de la mariposa.
• Sonda de detonación.
• Sonda de oxígeno Lambda.
• Sensor de régimen.
El microprocesador de la ECU procesa los datos provenientes de los “sensores”, reconoce a partir de éstos el estado de funcionamiento del motor y calcula las señales o impulsos eléctricos de corrección.
En la etapa final se amplifican las seña- les que activan a los “actuadores” que comandan al motor. Respecto a la
función básica del sistema, el control del encendido y de la inyección de nafta –en forma independiente de la ejecución– es básicamente la función más importante del sistema Motronic. Existen otras funciones denomina- das “adicionales”, son funciones de
corrección, de regulación. Las mis- mas son necesarias, para poder cumplimentar con las reglamentaciones existentes en función de la contaminación ambiental.
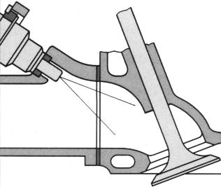
Esquema de la posición del electroinyector de nafta ubicado sobre el dorso de la válvula de admisión. - Bosch.
Radiografía del motor Audi de 4 cilindros en línea, 1.6 litros y 101 CV de máxima poten- cia, alimentado con in- yección de nafta indi- recta MPI - Gestión electrónica integrada Bosch Motronic.
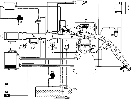
Sistema de inyección indirecta MPI secuencial con diagnóstico de fallas integrado Bosch Motronic M5. 1. Depósito de carbón activado. 2.Válvula de cierre. 3.Válvula regeneradora. 4. Regulador de presión de nafta. 5. Electroinyectores. 6. Actuador de presión. 7. Bobina de encendido. 8. Sensor de fase. 9. Bomba de aire secundario. 10.Válvula de aire secundario. 11. Medidor de masa de aire. 12. Unidad de control. 13.Transmisor de la mariposa. 14. Actuador de ralentí. 15. Sensor de temperatura del aire. 16. Válvula de recirculación de gases de escape. 17. Filtro de nafta. 18. Sensor de detonación. 19. Sensor de rpm. 20. Sensor de temperatura del motor. 21. Sonda Lambda. 22. interfase de diagnóstico. 23. Lámpara de diagnóstico. 24. Sensor de presión diferencial. 25. Electrobomba de nafta.
Hay dos aspectos fundamentales que hacen que se amplíen las funciones básicas del sistema Motronic, y que permiten el control de todos los aspectos y parámetros que intervienen en la generación de tenores contaminantes de los gases de escape. Estos aspectos son como sigue:
• La reducción del consumo de combustible.
• La reducción de los gases contaminantes.
Entre las funciones adicionales podemos encontrar las siguientes:
• La regulación o el reglaje del sistema Lambda.
• El reglaje de la detonación.
• El reglaje del régimen de mínima o ralentí.
• Recirculación de los gases de escape (reducción del NOx).
• Control del sistema de aire secundario (reducción de los HC).
• Control del sistema de recirculación de vapores de nafta.
• Estas funciones pueden ser complementadas con lo siguiente:
• Control del turbosobrealimentador.
• Control de los conductos de admisión.
• Control de la admisión variable.
• Control de la distribución variable.
• Reglaje del régimen de rpm.
A continuación ampliamos brevemente los puntos de complementación citados con anterioridad.
• Control del turbocompresor así como de la conmutación del tubo de admisión para aumentar la potencia del motor.
• Control del árbol de levas para disminuir las emisiones de gases de escape, y el consumo de combusti- ble así como para aumentar la potencia.
• Regulación de la detonación, limitación del número de revoluciones y de la velocidad, para la protección del motor y el vehículo.
Sistema de control del vehículo
El sistema Motronic apoya también las unidades de control de otros sis- temas del vehículo.
En combinación con la unidad de control del cambio automático, permite entre otras cosas, un acoplamiento de marchas que mediante la reducción del par motor durante el proceso de acoplamiento, protege al cambio, y que junto con la unidad de control ABS permite un sistema de tracción antideslizante ASR para aumentar la seguridad de marcha. El diagrama inferior del sistema muestra la extensión máxima de un sistema Motronic. Puede aplicarse un sistema así para cumplir:
– Los estrictos valores límite de los gases de escape
– Las exigencias al diagnóstico integrado.
EL SISTEMA DE ALIMENTACION DE NAFTA
El sistema de alimentación de combustible tiene la misión de poner siempre a disposición del motor el caudal de combustible necesario bajo todas las condiciones de servicio. Para ello, una bomba accionada eléctricamente transporta el combustible a través de un filtro de nafta, desde el depósito al tubo distribuidor de nafta con los electroinyectores.Estos lo inyectan exactamente dosificado en el tubo de admisión del motor.
El combustible no consumido retorna al depósito de combustible pasando por un regulador de presión. En la mayoría de los casos, el regulador de presión utiliza como referencia la presión en el tubo de admisión.
Con esta presión típica y el flujo a través del distribuidor de combustible (enfriamiento del mismo) no pueden producirse burbujas de vapor indeseadas en la nafta. De esta forma resulta una presión diferencial constante en el electroinyector de normalmente 300 kPa.
Si es necesario pueden montarse en el sistema de alimentación amortiguadores de presión para reducir las pulsaciones del combustible.
Sistema de alimentación de nafta. 1. Electrobomba de nafta (sumergida). 2. Filtro de nafta. 3. Conducto distribuidor de nafta. 4. Electroinyector. 5. Regulador de presión.

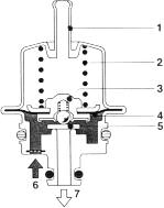
Electrobombas de alimentación de nafta. Arriba: Electrobomba de combustible de dos niveles (con bomba de canal lateral y bomba periférica). 1. Tapa de aspiración con empalme de succión. 2. Rotor. 3. Nivel previo (bomba de canal lateral). 4. Nivel principal (bomba periférica). 5. Cuerpo de la bomba. 6. Inducido del motor. 7.Válvula de retención. 8.Tapa de conexión con empalme de presión. Abajo: Electrobomba de nafta de dos niveles (con bomba de canal lateral y bomba de engranaje con dentado interior). 1. Nivel previo (bomba de canal lateral). 2. Nivel principal (bomba con dentado interior). 3. Inducido del motor. 4. Colector. 5.Válvula de retención. 6. Conexión eléctrica.
Electrobomba de nafta
La electrobomba de combustible transporta continuamente la nafta desde el depósito.
La bomba puede estar montada directamente dentro del depósito de combustible (en el depósito) o fuera de él, en la tubería de combustible (In line).
Las bombas, empleadas hoy día por regla general están integradas en unidades incorporadas en el depósito que contiene también el transmisor del nivel de llenado y un cuerpo de rotación para la separación de burbujas de vapor en el retorno del combustible.
En las bombas “Inline” puede montarse, para evitar problemas de suministro en caliente, una bomba previa en el depósito, que impulsa el combustible a reducida presión hacia la bomba principal. Con el fin de mantener la presión necesaria bajo todas las condiciones de servicio, el caudal de suministro es superior a la demanda máxima de combustible del motor. El control del motor conecta la electrobomba de combustible. Un circuito de seguridad impide el suministro estando conectado el encendido y el motor parado.

Principio de funcionamiento de las electrobombas:A. Entrada. B. Salida. 1. Bomba celular de rodillos. 2. Bomba periférica. 3. Bomba con dentado interior. 4. Bomba de canal lateral.
Componentes
Las electrobombas de nafta se componen de los siguientes elementos:
• Unidad de la bomba.
• Motor eléctrico y tapa de conexión.
El motor eléctrico y la unidad de bomba, de la electrobomba de combustible se encuentran dentro de una carcasa común y están rodeados de nafta continuamente. Esto origina una buena refrigeración del motor eléctrico. Por falta de oxígeno no puede formarse una mezcla inflamable dentro de la carcasa. Por lo tanto no existe peligro de explosión. La tapa de conexión presenta las conexiones eléctricas, la válvula de retención y el empalme hidráulico correspondiente al lado de presión. La válvula de retención mantiene la presión del sistema durante algún tiempo tras la desconexión de la electrobomba de combustible, con el fin de evitar formación de burbujas de vapor. Adicionalmente, en la tapa de conexión pueden estar integrados medios antiparasitarios para eliminar radiointerferencias.
Tipos constructivos
En función de las exigencias del sistema se aplican diversos principios de bombas de alimentación.
Bombas de vaciado
Las bombas celulares de rodillos y las bombas de dentado interior pertenecen al grupo de las bombas de vaciado.
El efecto de bombeo se basa en que unas cámaras rotativas de tamaño variable dejan libre una abertura de entrada y aspiran combustible al aumentar de tamaño. Cuando alcanzan el volumen máximo, se cierra la abertura de entrada y se libera la abertura de salida. Por la reducción de tamaño de la cámara se expulsa ahora el combustible. En el caso de las bombas celulares de rodillos, las cámaras están formadas por rodillos perimetrales conducidos dentro de un disco ranurado en rotación. Debido a la fuerza centrifuga y a la presión del combustible, los rodillos son presionados hacia fuera contra la pista dispuesta excéntricamente. La excentricidad entre el disco ranurado y la pista de rodillos origina el aumento y reducción constante de las cámaras. La bomba de dentado interior se compone de una rueda propulsora interna que engrana en un rotor exterior dispuesto excéntricamente, que tiene un diente más que la rueda propulsora. Los flancos de dientes estancos entre sí forman al girar cámaras variables en sus espacios intermedios.
Las bombas celulares de rodillos pueden aplicarse hasta un margen de sobrepresión de combustible de 650 kPa, y las bombas de dentado interior hasta 400 kPa, lo cual es suficiente prácticamente para todas las aplicaciones Motronic.

Filtro de nafta. 1. Papel. 2.Tamiz. 3. Placa de apoyo.

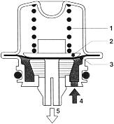
Regulador de presión. 1. Conexión con el múltiple de admisión. 2. Resorte. 3. Portaválvula. 4. Diafragma. 5. Válvula. 6. Ingreso de nafta. 7. Retorno de combustible.

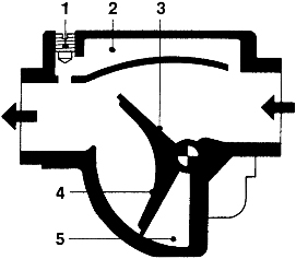
Amortiguación de la presión de combustible. 1. Resorte. 2. Platillo. 3. Diafragma. 4. Entrada de nafta. 5. Retorno de nafta.
Bombas hidrodinámicas
Al grupo de las bombas hidrodinámicas pertenecen las bombas periféricas y las bombas de canal lateral. En ellas, las partículas de combustible son aceleradas por el rotor y centrifugadas en un canal donde generan presión por intercambio de impulsos. Las bombas periféricas se diferencian de las bombas de canal lateral por el mayor número de aletas, por la forma de los rotores y, contrariamente a las bombas de canal lateral, por los canales dispuestos en su contorno (periféricamente).
Con las bombas periféricas sólo puede alcanzarse una sobrepresión máxima de combustible de 400 kPa, pero debido al flujo de combustible continuo prácticamente sin pulsaciones, son especialmente apropiadas para aplicaciones en vehículos sensibles a los ruidos.