Esta nota es presentada por
El pistón y los aros
VISTAS 30282
COMPONENTES DEL MOTOR
El pistón y los aros
Bugatti Carlos ©
Puede decirse que el pistón es el componente alternativo por excelencia, y el que recibe toda la fuerza resultante de la combustión-expansión, la cual es transmitida a la biela (movimiento conjunto alternativo- rotativo). Es el que cierra la cavidad volumétrica entre el cilindro y la cámara de combustión.
Básicamente es de forma cilíndrica, en su parte superior, que se llama “cabeza”, y posee un diámetro levemente menor al de la “falda o pollera” inferior, de manera tal de compensar las dilataciones –por las altas temperaturas– provocadas por las combustiones sucesivas. 
Los fabricantes de pistones, realizan un sinnúmero de pruebas en banco dinamométrico, para verificar todas sus características, y ser finalmente aprobados por los ensayos de homologación.
El papel del pistón es muy importante, en su funcionamiento en el motor y cualquier falla suya, trae aparejada una falla total del mismo.
En cuanto a su función, hay que agregar que debe controlar y operar todo el flujo, de los ciclos del motor, es decir admisión, compresión y escape, transmitiendo a la vez la energía de las expansiones, a través de la biela.
Se sabe que este trabajo alternativo del pistón se efectúa varias miles de veces por minuto, bajo condiciones de solicitaciones mecánicas y térmicas verdaderamente extremas. Cabe señalar que las fuerzas que actúan sobre el pistón, se distribuyen en distintas direcciones y presentan valores en verdad elevados. 
El pistón es un componente del motor de alta complejidad y elevada tecnología, debido a su diseño y a los metales aleados para su construcción.
La presión que alcanza la mezcla aire/combustible, antes de la combustión –dentro de la cámara de combustión– alcanza los 60-75 bares en los motores de ciclo Otto, y los 150 bares en los de ciclo Diesel, en forma aproximada. Lógicamente, después de la combustión-expansión, la presión se incrementa mucho más. Sin embargo, el factor que más contribuye a la fatiga del material del pistón (a las aleaciones), es el calor.
Es importante destacar que la temperatura generada por la combustión supera los 2.000 grados C, lo que sería suficiente para fundir el material, si el pistón no transmitiera el exceso de calor, a las paredes de los cilindros a través de los aros.
Desde los aros de pistón, el calor es disipado por medio del fluido del sistema de enfriamiento del motor.
Se considera que los aros del pistón, evacuan casi el 50 por ciento del calor generado por la combustión, el 30 por ciento es disipado por las válvulas, y el resto se elimina por la tapa de cilindros o culata. Además, por otra parte, la entrada permanente de aire fresco desde el exterior, también contribuye al enfriamiento –durante un corto tiempo– de la cámara de combustión y de la tapa de cilindros. 
Partes alternativas-rotativas del motor “atmosférico” (cigüeñal, bielas y pistones) de 4 cilindros, con accionamiento de válvulas variable totalmente. - BMW
En estas condiciones, el material con que está construido el pistón debe cumplir un compromiso ideal, entre rigidez y conductividad térmica. El aceite lubricante también contribuye al enfriamiento del pistón, desde el momento en que se encuentra en el cárter, disipando en gran parte el calor que recibe desde otros puntos más calientes del motor.
A todo esto, el pistón es diseñado para que distribuya proporcionalmente las presiones que recibe, y construido con materiales que mini micen el desgaste por fricción, con la ayuda de los aros. Estos últimos son los que experimentan un gran desgaste. Aquí el aceite lubricante es vital, y solo se interpone –entre el pistón y las paredes del cilindro– una fina película, que permite que el temido desgaste sea reducido a valores tolerables.
Como sabemos, el aceite lubricante también tiene sus enemigos, empezando por el conductor, que no siempre verifica o controla el nivel de aceite, y no siempre realiza el cambio del mismo –y de los respectivos filtros– en los períodos correspondientes. Además de esto, hay que tener en cuenta que el exceso de calor, el combustible incombusto, y los productos químicos resultado del proceso de combustión, también pueden atacar a la película lubricante, haciendo que el desgaste sea un verdadero desastre. Esto genera el fenómeno de “engrane”, es decir el contacto directo metal con metal del pistón, y de las paredes del cilindro.
Sin duda, esto es el fin del pistón – ya que las tolerancias son mínimas– porque no hay margen para jugar con la dilatación de los metales, y con las necesidades de estanquidad del cilindro.
Respecto a los materiales usados para la construcción de los pistones, y debido a su poco peso y a su capacidad de disipación de calor, se generaliza la utilización del aluminio en las aleaciones para la fabricación.
Siempre hablamos de aleaciones, con gran proporción de aluminio, ya que no es posible usarlo solo porque no soportaría las solicitaciones a que está sometido el pistón. Otros diferentes materiales son agregados al aluminio (silicio, cobre, magnesio, etc.), para garantizar las propiedades de dureza y resistencia mecánica, que de por sí no posee.
Las aleaciones también deben presentar buenas características anti-fricción y una cierta adaptabilidad plástica. 
Detalle de pistón con recubrimiento antifricción, aplicado en su pollera o falda – Ford.
Las aleaciones en la fabricación de los pistones difieren esencialmente en los altos porcentajes traerían algunos problemas de fundición y de mecanización. El bajo poder específico (2,7 gr/cm3), asegura buenas características dinámicas al pistón, que funciona parando y acelerando miles de veces por minuto. 
Componentes del conjunto rotativo-alternativo (cigüeñal, bielas y pistones), del motor naftero de inyección directa y turbo.
Si el momento de inercia fuese realmente elevado, el motor tendría más vibraciones y un mayor nivel de ruidos. De cualquier manera, el mal congénito de los motores con movimiento alternativo es, sin duda, la inercia de las partes móviles –pistón y biela– que sin embargo no ha impedido su evolución.
En lo referente al tratamiento de los pistones, se utilizan dos procesos principales de templado. En el primero, el pistón en bruto es enfriado a temperatura ambiente, e introducido en un horno a 515 grados C durante 4 horas. Seguidamente, el pistón es sumergido en agua hirviendo.
Este tratamiento térmico asegura una unión muy fuerte, entre los componentes –elementos– de la aleación, después de que el pistón pasa por el proceso de mecanizado, que es el que le dará su forma definitiva.
El otro método, más económico, es utilizado para el 80 por ciento de los pistones fabricados actualmente, y consiste en enfriar rápidamente el pistón en bruto con una corriente de aire forzada, con el objeto de estabilizar la aleación. A continuación el émbolo o pistón es sometido a un proceso de envejecimiento de 4 horas en un horno, a una temperatura de 220 grados C, antes de ser mecanizado. 
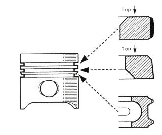
Posicionamiento en el pistón de los aros de estanquidad.
La función principal de la pollera o falda del pistón, consiste en estabilizar el movimiento del émbolo, en el sentido axial del cilindro.
Para los motores de competición, los pistones son fabricados por medio del forjado de alta presión.
Referente a los aros de pistón, puede decirse que efectivamente los aros –también denominados segmentos– son los que aseguran la estanquidad entre el pistón y el cilindro. La presión de los gases de la combustión, y la elasticidad propia del material con que están construidos los aros de pistón, hacen que estos sean empujados permanentemente, contra la pared del cilindro. Siendo construidos en aleaciones de acero, de muy alta resistencia, los aros cumplen muy bien su función, en especial cuando deben impedir la difícil situación de que los gases de combustión pasen al cárter. Uno de los grandes inconvenientes de los aros, son los depósitos de carbón que combinados con el aceite lubricante quemado, forman una masa elástica –tipo cola– que impide el normal movimiento de los mismos. Después de esta situación, se abre un camino para que se produzcan las fallas, debido a que los gases de combustión pueden pasar entre el pistón y la pared del cilindro, quemando la película lubrican- te y por consecuencia haciendo que el “agarre” sea inevitable.
Para evitar este problema, se están desarrollando pistones con los alojamientos de los aros de forma oblicua, que empujan al aro para dentro y para fuera, de acuerdo al movimiento del pistón dentro del cilindro. El vaivén permanente del aro del pistón, en su alojamiento, imposibilita la acumulación de residuos y dificulta el bloqueo de los aros.
Para evitar el redondeado de los cantos de los aros, se están usando segmentos más finos, es decir espesor es de1,5 a 2mmn.
El papel del pistón es función importantísima en el motor, y cualquier problema del mismo, genera una falla total del motor. Sabemos que el pistón tiene como fin operar y controlar todo el flujo del ciclo motor (gases de admisión y escape).